T02 是LongChung智慧导览系统中的一款被动标签。T02内置可充锂电池,手环形式结构,一般佩戴于手上。
型号:T02
天线类型:内置天线
主体颜色:黑色
外壳材料:ABS+TPU
续航时间:4个月@1Hz 典型续航(续航数据来源于 N 司测试,实际使用时间因用户使用习惯不同存在一定差别)
射频通道:CH5,CH9
中心频率:6.5GHz,8GHz
频段:[6240, 6739]MHz,[7737, 8236]MHz
可调发射功率:[-46,-15]dBm/MHz@6.5G,[-42,-14]dBm/MHz@8.0G
通信距离:空旷:100m@6.5G,50m@8G;工况:40m@6.5G,20m@8G
冷启动时间:1S
工作温度:-20 ~ 70℃
存储温度 -40 ~ 85℃
工作湿度:10% ~ 90%无结霜
防护等级:IP66
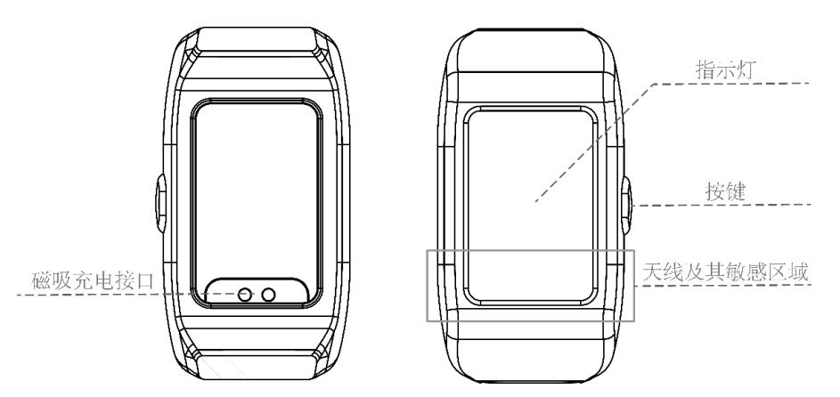
交互:声光、按键
蓝牙:BLE 5
产品重量:35g
产品尺寸:116.2*59.95*31.6mm
产品构造:

产品尺寸:mm
